![图片[1]-一种新能源汽车轻量化前端框架-JieYingAI捷鹰AI](https://www.jieyingai.com/wp-content/uploads/2024/12/1735495678498_0.jpg)
背景技术:
1、为了降低开发成本,缩短开发周期,提高产品竞争力,平台化开发已经成为绝大多数整车企业的选择,另外随着环保要求的提高,轻量化成了汽车发展的必然选择,为了更好的实现汽车前端框架的轻量化和平台化,目前绝大多数整车企业的前端结构都已经从传统的钢制冲压焊接变成了一体注塑成型的塑料件,但由于前端框架的水箱上横梁以及大灯横梁结构、位置需要根据不同车型来进行变更,故如何最大化的在平台车型中沿用前端框架成为平台化开发中一个研究热点。
2、为了适应不同车型,水箱的上横梁需要进行相应的调整,申请号为202111021564.x的中国专利公开一种新能源汽车轻量化前端框架,通过设置有调整结构,在汽车平台化开发中对前端框架的水箱上横梁的高度进行调节,以适应更多型号的汽车前端模块,同时通过设置可以根据水箱上横梁的调节而调节的强化结构来对变化后的前端框架进行强化固定,进一步提高了装置的可适用性,然而调整结构的堆积模块依旧具有一定长度,水箱上横梁的调节范围受到堆积模块的长度的限制,针对现有技术不足,需要进行进一步的改进。
技术实现思路
1、有鉴于此,本发明的目的在于提供一种新能源汽车轻量化前端框架,以解决上述问题。
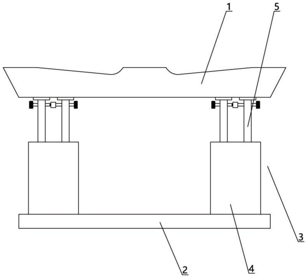
2、为实现上述目的,本发明所采用的技术方案是:一种新能源汽车轻量化前端框架,包括水箱上横梁、水箱下横梁以及左右对称设置在水箱上横梁和水箱下横梁之间的两个调整机构,所述调整机构包括调节锁筒和支撑杆,其中调节锁筒为两个并排的圆筒结构,调节锁筒下端与水箱下横梁固定连接,所述调节锁筒的两个圆筒结构内均设置有一根支撑杆,支撑杆上端转动连接有支撑盘,支撑盘与水箱上横梁固定连接,支撑杆上套有调节套筒,调节套筒侧面环绕有四个t形锁块,t形锁块中部的端头与调节套筒滑动连接,t形锁块中部的端头为上侧小下侧大的且靠近支撑杆的一侧为斜面,支撑杆的下端为下端小上端大的圆台形结构,便于支撑杆下端侧面与t形锁块贴合,支撑杆下端设置有紧固端头,紧固端头上侧为向下凹的环形槽结构,且紧固端头上侧中部与支持杆下端固定连接,紧固端头侧边缘与调节套筒螺纹配合连接。
3、每个调节锁筒所述两根支撑杆靠近上端部位分别设置有第一紧固杆和第二紧固杆,第一紧固杆一端固定有旋钮,且第一紧固杆另一端设置有螺纹部,第二紧固杆一端固定有旋钮,且第二紧固杆另一端固定有螺帽,螺帽与第一紧固杆的螺纹部螺纹配合连接。
4、所述调节套筒上边缘设置有四个限位槽,调节锁筒内壁竖直分布有四根限位导轨,调节套筒的限位槽与限位导轨位置一一对应,便于调节套筒沿着限位导轨上下滑动。
5、优选的,所述t形锁块靠近调节锁筒内壁的一侧固定有摩擦片。
6、本发明的有益效果是:本发明利用t形锁块的斜面与支撑杆下端斜面贴合部位相互挤压,推动t形锁块挤压摩擦片与调节锁筒贴合,利用摩擦片与调节锁筒之间的摩擦力将支撑杆的高度固定,方便调整水箱上横梁的高度;利用第一紧固杆和第二紧固杆将两根支撑杆锁定,避免支撑杆发生转动导致摩擦片与调节锁筒之间的摩擦力减小发生松动。
技术特征:
1.一种新能源汽车轻量化前端框架,包括水箱上横梁、水箱下横梁以及左右对称设置在水箱上横梁和水箱下横梁之间的两个调整机构,其特征在于:所述调整机构包括调节锁筒和支撑杆,其中调节锁筒为两个并排的圆筒结构,调节锁筒下端与水箱下横梁固定连接,所述调节锁筒的两个圆筒结构内均设置有一根支撑杆,支撑杆上端转动连接有支撑盘,支撑盘与水箱上横梁固定连接,支撑杆上套有调节套筒,调节套筒侧面环绕有四个t形锁块,t形锁块中部的端头与调节套筒滑动连接,t形锁块中部的端头为上侧小下侧大的且靠近支撑杆的一侧为斜面,支撑杆的下端为下端小上端大的圆台形结构,支撑杆下端设置有紧固端头,紧固端头上侧为向下凹的环形槽结构,且紧固端头上侧中部与支持杆下端固定连接,紧固端头侧边缘与调节套筒螺纹配合连接。
2.根据权利要求1所述的一种新能源汽车轻量化前端框架,其特征在于,每个调节锁筒所述两根支撑杆靠近上端部位分别设置有第一紧固杆和第二紧固杆,第一紧固杆一端固定有旋钮,且第一紧固杆另一端设置有螺纹部,第二紧固杆一端固定有旋钮,且第二紧固杆另一端固定有螺帽,螺帽与第一紧固杆的螺纹部螺纹配合连接。
3.根据权利要求1所述的一种新能源汽车轻量化前端框架,其特征在于,所述调节套筒上边缘设置有四个限位槽,调节锁筒内壁竖直分布有四根限位导轨,调节套筒的限位槽与限位导轨位置一一对应,便于调节套筒沿着限位导轨上下滑动。
4.根据权利要求1所述的一种新能源汽车轻量化前端框架,其特征在于,所述t形锁块靠近调节锁筒内壁的一侧固定有摩擦片。
技术总结
本发明涉及一种新能源汽车轻量化前端框架,包括水箱上横梁、水箱下横梁以及左右对称设置在水箱上横梁和水箱下横梁之间的两个调整机构,所述调整机构包括调节锁筒和支撑杆,支撑杆上套有调节套筒,调节套筒侧面环绕有四个T形锁块,本发明利用T形锁块的斜面与支撑杆下端斜面贴合部位相互挤压,推动T形锁块挤压摩擦片与调节锁筒贴合,利用摩擦片与调节锁筒之间的摩擦力将支撑杆的高度固定,方便调整水箱上横梁的高度;利用第一紧固杆和第二紧固杆将两根支撑杆锁定,避免支撑杆发生转动导致摩擦片与调节锁筒之间的摩擦力减小发生松动。
技术研发人员:田萌,周淑娟,任恒,张钦裕,宋芳,史浩冉
受保护的技术使用者:河南工业贸易职业学院
技术研发日:
技术公布日:2024/2/19







